中文版
|
English
|
首页
学院概况
学院简介
现任领导
机构设置
联系我们
师资队伍
党建工作
党组织架构
分党校和党支部
纪检监察
统战工作
工会工作
人才培养
本科生
研究生
继续教育
实践平台
学科建设
二级学科博士点
一级学科硕士点
二级学科硕士点
专业学位硕士授权点
十四五重点学科
科学研究
研究方向
科研平台
科研团队
获奖成果
科研动态
社会服务
社会检测
技术服务
培训服务
文化传承
办学历史
校友风采
校友活动
国际交流
学生工作
学工动态
机构设置
规章制度
关工委工作
就业工作
下载专区
制度建设
管理制度
表格下载
中
En
首页
学院概况
学院简介
现任领导
机构设置
联系我们
师资队伍
党建工作
党组织架构
分党校和党支部
纪检监察
统战工作
工会工作
人才培养
本科生
研究生
继续教育
实践平台
学科建设
二级学科博士点
一级学科硕士点
二级学科硕士点
专业学位硕士授权点
十四五重点学科
科学研究
研究方向
科研平台
科研团队
获奖成果
科研动态
社会服务
社会检测
技术服务
培训服务
文化传承
办学历史
校友风采
校友活动
国际交流
学生工作
学工动态
机构设置
规章制度
关工委工作
就业工作
下载专区
社会服务
社会检测
技术服务
培训服务
您的位置:
首页
>
社会服务
>
社会检测
> 正文
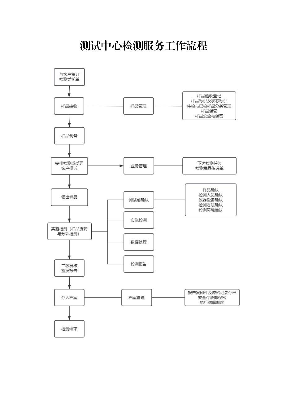
社会检测
环境科学与工程学院测试中心检测服务工作流程
发布日期:2024-11-15
浏览次数:
附件【
测试中心检测服务工作流程.pdf
】已下载
次
快速通道
学院概况
党建工作
师资队伍
人才培养
学科建设
科学研究
招生就业
学生工作
地址:江苏省扬州市华扬西路196号
电话:0514-87979528
传真:0514-87978626
邮箱:hjxy@yzu.edu.cn
行业站点链接
校内站点链接
电气与能源动力工程学院
文学院
社会发展学院
马克思主义学院
法学院
教育科学学院
师范学院
新闻与传媒学院
外国语学院
数学科学学院
物理科学与技术学院
化学化工学院
体育学院(体育工作部)
机械工程学院
信息工程学院
建筑科学与工程学院
水利科学与工程学院(现代农村水利研究院)
农学院
园艺与植物保护学院
动物科学与技术学院
兽医学院
生物科学与技术学院
医学院
护理学院
商学院
旅游烹饪学院·食品科学与工程学院
音乐学院
美术与设计学院
广陵学院
农业科技发展研究院(国际联合实验室)
苏中发展研究院
新农村发展研究院
党委办公室
纪委办公室
党委组织部
党校
党委宣传部
党委统战部
改革与发展研究室
工会
团委
校长办公室
教务处
招生办公室
教育教学评估中心
研究生院
学科建设办公室
党委研究生工作部
科学技术处
人文社科处
社会合作与服务处
大学科技园管理委员会办公室
继续教育处(学院)
人事处
教师工作部
国际合作与交流处(港澳台办公室)
学生工作部(处)
毕业生就业指导中心
心理健康教育中心
财务处
国有资产管理处
审计处
采购管理办公室
后勤保障处
保卫部(处)
人武部
基建处
实验室与设备管理处
测试中心
信息化建设与管理处
对外联络办公室(校友会)
教育基金会办公室
离退休处
关心下一代工作委员会
附属医院
海外教育学院
图书馆
学报编辑部
档案馆(校史馆)
现代农业科教示范园区建设与管理办公室(高邮)
资产经营有限公司
实验农牧场
校外站点链接
中国农业大学
河北农业大学
山东农业大学
华南农业大学
华中农业大学
南京农业大学
湖南农业大学
云南农业大学
西北农林科技大学
甘肃农业大学
河南农业大学
Copyright © 2020 扬州大学环境科学与工程学院 All rights reserved.
版权所有
苏公网安备 32100302010246号